Sign in

close
Create an Account

Shopping cart

close

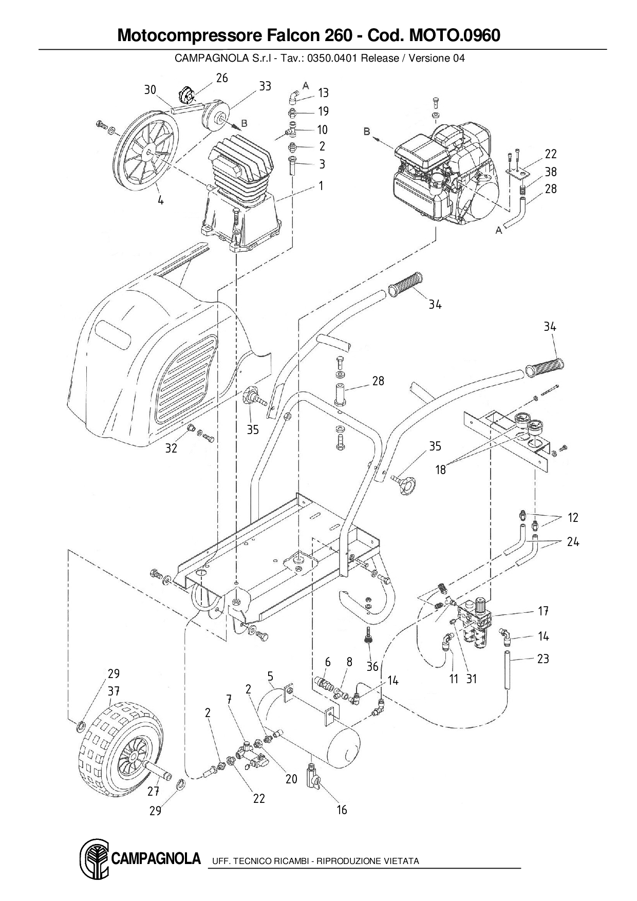
Despieces Interactivos

¿Has probado ya los explosiones interactivas?
Encuentra en un instante el recambio que te convenga, consultando un dibujo técnico interactivo.

¿Precisas una pieza de repuesto para tu producto Campagnola? ¡Estás en el sitio indicado!
Introduce en el campo de búsqueda el código del producto terminado, el código o el nombre de la pieza de repuesto y haz clic en «Buscar». En un momento obtendrás todos los PDF de las piezas de repuesto a la venta relacionadas con tu búsqueda.

542 Elementos

Scroll To Top Sidebar